合作客戶/
拜耳公司 |
同濟大學 |
聯合大學 |
美國保潔 |
美國強生 |
瑞士羅氏 |
相關新聞Info
-
> 宅男视频网站應用:不同初始表麵壓力條件對VhPLD的磷脂吸附親和力影響(二)
> 遼河油田原油的石油酸、石油堿組分萃取過程、結構表征及界麵張力測量——結果與討論、結論
> 不同礦漿濃度、粒度、伴生礦物、捕收劑和起泡劑對礦漿表麵張力的影響(三)
> 地下水質量標準(GB/T 14848-2017)
> 用吸管往水裏吹氣,為什麽水裏的氣泡不像氣球一樣越吹越大?而是分成很多個連續的小氣泡冒出來?
> 表麵張力與塗料質量關係
> 低溫β-甘露聚糖酶提升低溫油藏壓裂液的破膠性能——摘要
> 拉脫法測量:不同性能磁性液體的磁表麵張力變化規律與影響因素(一)
> 全自動表界麵張力儀適合標準
> 含氟杯芳烴雙咪唑季銨鹽化合物1形成的LB膜為H-聚集體
推薦新聞Info
-
> 不同礦漿濃度、粒度、伴生礦物、捕收劑和起泡劑對礦漿表麵張力的影響(三)
> 不同礦漿濃度、粒度、伴生礦物、捕收劑和起泡劑對礦漿表麵張力的影響(二)
> 不同礦漿濃度、粒度、伴生礦物、捕收劑和起泡劑對礦漿表麵張力的影響(一)
> 長慶油田隴東地區的CQZP-1助排劑表/界麵張力測量及現場應用(三)
> 長慶油田隴東地區的CQZP-1助排劑表/界麵張力測量及現場應用(二)
> 長慶油田隴東地區的CQZP-1助排劑表/界麵張力測量及現場應用(一)
> 液膜斷裂點與電壓最大值在表麵張力測量中的對比研究(二)
> 液膜斷裂點與電壓最大值在表麵張力測量中的對比研究(一)
> 表麵張力與表麵張力係數測量:概念、方法與科學意義
> 微重力下二極對非均勻旋轉磁場控製半浮區液橋表麵張力對流的數值研究(下)
全自動張力測定儀揭示子細胞表麵張力對胞質分裂結局的主導作用(二)
來源: 《太原理工大學學報》 瀏覽 313 次 發布時間:2025-12-25
2結果與討論
2.1不同細胞骨架蛋白抑製劑對細胞表麵張力影響的比較
實驗中,分別單獨加入骨架蛋白抑製劑2μmol/L CD和30μmol/L blebbistatin,再同時加入2μmol/L CD和30μmol/L blebbistatin。各組細胞處理15~20 min後進行細胞表麵張力測量。利用公式(1)計算細胞表麵張力,實驗結果見表1。
各組細胞的表麵張力γ經過OriginPro 8.0統計,結果以均數±標準偏差表示。對處理組與對照組細胞表麵張力γ進行t檢驗,經過相關性統計分析,均有顯著性差異(P<0.05)。
可以看到,不同細胞骨架蛋白抑製劑對細胞表麵張力均有顯著影響,處理組細胞表麵張力較對照組顯著降低。其中經過CD處理細胞的下降幅度最大,較對照組降低約87%,顯示肌動蛋白骨架網絡是NRK細胞表麵張力的最重要影響因素;經過blebbistatin處理後的細胞表麵張力約為對照組細胞的60%,反映出肌球蛋白II分子馬達活性的維持對細胞表麵張力的影響程度,表明細胞內主動性運動的抑製對於細胞整體的力學特性有直接的影響。經過blebbistatin處理後的細胞表麵張力是CD處理後的2.5倍左右,統計數據顯示兩者之間有顯著性差異(P<0.05)。在CD和blebbistatin同時作用下,細胞的表麵張力降低大約70%,與blebbistatin或CD單獨作用下的數據有顯著性差異(P<0.05),但是可以看出CD和blebbistatin同時作用下細胞表麵張力降低的效果不是簡單的線性關係。
結果一方麵說明了blebbistatin對細胞表麵張力的作用有其獨立性,另一方麵說明肌動蛋白與肌球蛋白II的ATP酶活性之間有著緊密而又複雜的聯係,值得進一步研究。
2.2抑製單側子細胞極區肌動蛋白聚合對間橋變形的影響
在分裂溝內陷出現後,利用5μmol/L CD抑製單側子細胞極區皮層肌動蛋白聚合,采用單側極區加入不含CD但是含有質量分數0.02%DMSO的培養液作為對照組,並且利用整體blebbistatin處理細胞,在抑製收縮環主動性收縮的狀態下,向單側極區加入CD作對比。局部抑製劑作用下的細胞變形如圖4所示。在內陷發生之後,在正常或整體施加blebbistatin的實驗條件下抑製單側極區肌動蛋白裝配,均不能阻止胞質分裂進程,各組細胞都能完成分裂。表明在胞質分裂內陷發生後,極區皮層肌動蛋白的異常裝配不會抑製胞質分裂,細胞胞質分裂進程持續進行。在這種狀態下,宅男666网站運用分析手段去進一步研究單側極區子細胞表麵張力對胞質分裂中細胞變形的影響,以此了解胞質分裂進程中胞漿流動和皮層力學特性之間的聯係。
圖4局部抑製劑作用下的細胞變形過程
分別測量三組細胞胞質分裂進程中分裂溝間橋的長度和直徑,獲得每組細胞的D₀位置,做出細胞分裂溝間橋相對直徑對時間的變化曲線,見圖5。
可以看出,對照組細胞單側極區CD處理之後的間橋變形趨勢(圖5-c)與未經處理的對照組細胞(圖5-a)相似,但是細胞間橋直徑的變化曲線不平滑,並且在D₀點之後相對直徑維持在1附近。結果表明細胞間橋的變形在單側極區肌動蛋白受抑製情況下因兩側子細胞表麵張力的不平衡而反複波動,間橋直徑在D₀之後即0~200 s間的相對穩定可能是由於細胞在此處不斷調節整體表麵張力引起的,隨著胞質分裂進行,兩極表麵張力也逐步調節至相似水平。依據趨勢圖(圖5-c)宅男666网站認為:兩個子細胞和整個細胞表麵張力的調節是細胞完成分裂的必需步驟,在細胞整體的表麵張力沒有平衡之前,細胞間橋的收縮速率會不斷調節,甚至維持在一定範圍震蕩。
從整體施加blebbistatin的細胞組可以看出,單側利用CD處理的實驗組細胞與對照組細胞的細胞間橋變形趨勢間出現了差異。在整體存在blebbistatin的狀態下,同時局部利用CD處理極區皮層會導致細胞間橋變形近似一條直線(圖5-d),而隻采用整體blebbistatin處理的細胞在D₀點之前表現出典型的指數衰減(圖5-b)。這是由於經過兩種抑製劑的共同作用,在降低整體表麵張力的基礎上大幅降低了單側子細胞的表麵張力,使得細胞間橋變形近似於彈性鬆弛模型,該模型描述的是由細胞膜的粘彈性和皮層張力決定、由細胞內拉普拉斯壓力差主導的細胞間橋變形,表現為線性變化。與對照組細胞單側極區施加CD(圖5-c)相比,整體施加blebbistatin並且進行抑製單側極區肌動蛋白的細胞(圖5-d)同樣表現出間橋變形曲線不平滑,但是在D₀點之後並未出現一段明顯的平穩期。Ren等的報道認為細胞感受和傳遞力學信號主要通過肌球蛋白II與肌動蛋白交聯蛋白的相互作用,這與本實驗的結果相符,宅男666网站認為這與低活性肌球蛋白II的ATP酶對細胞肌動蛋白網絡的調節有關。
圖5 NRK細胞間橋相對直徑隨時間變化曲線
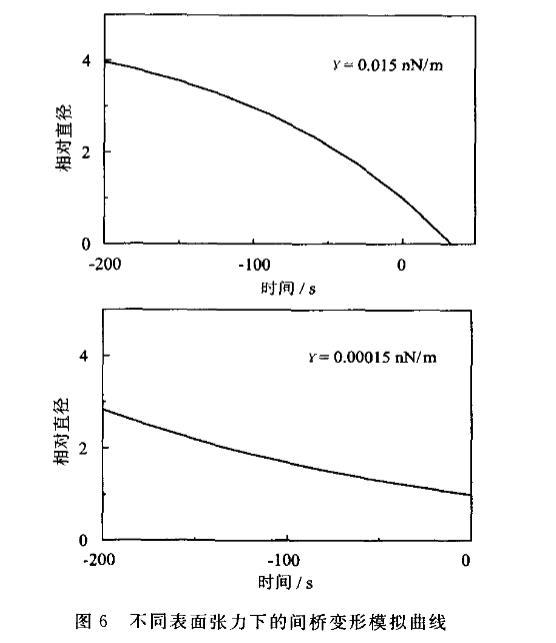
利用公式2通過OriginPro 8.0軟件對NRK細胞間橋動力學進行模擬得到的曲線見圖6。可以得出,表麵張力取正常細胞1/10的理論曲線與整體blebbistatin處理組細胞D₀點之前近似,而取正常細胞1/1000的理論曲線與整體施加blebbistatin並且同時抑製單側極區皮層肌動蛋白聚合的曲線近似。
實驗和模擬結果顯示,細胞表麵張力的變化深刻影響著胞質分裂進程中細胞間橋的變形。宅男666网站之前的實驗表明,經過blebbistatin整體處理後的細胞,其間橋變形D₀點之前與γ=0.015 nN/μm的模擬曲線較吻合,與正常細胞和單側子細胞CD處理後的正常細胞差異明顯,說明表麵張力和分裂溝主動收縮共同影響間橋變形。另一方麵,整體blebbistatin和局部CD共同作用下的細胞顯示了與其它各組不同的變化趨勢,其變形曲線近似為線性,這與彈性鬆弛變形的曲線相似,也與間橋變形動力學模型中當表麵張力接近0的情況相近,結果顯示在去除分裂溝主動收縮的條件下,細胞表麵張力直接決定著細胞間橋變形。
3結論
本實驗在測定骨架蛋白抑製劑作用下細胞表麵張力變化的基礎上,對兩側子細胞表麵張力不平衡狀態下的細胞間橋變形進行了形態學分析。結果顯示,在胞質分裂的細胞力學變形過程中,極區子細胞表麵張力的變化與細胞分裂溝間橋的變化有著密切的聯係。抑製單側極區皮層肌動蛋白聚合降低了處理區域子細胞的表麵張力,由此導致的兩極子細胞表麵張力不平衡能夠引起細胞間橋變形進程的異常。正常細胞的單側極區肌動蛋白聚合受到抑製可以導致細胞間橋變形的停滯;對於經過blebbistatin處理而喪失收縮環主動性收縮的細胞,極區細胞皮層表麵張力對細胞間橋的變形趨勢起主導作用。本文得到的實驗結果為研究細胞如何通過調節自身各區域力學特性從而引導胞質分裂的變形提供了基礎實驗依據。分裂細胞的力學變形過程與細胞在時間和空間上調節自身力學特性的聯係,是宅男666网站今後研究的重點。





